- Типичные неисправности двигателей Toyota Gaia и их причины
 - Под капотом
 - Пневмоподвеска и кондиционер
 - Поиск по сайту
 - Поиск неисправности в цепи включения муфты компрессора
 - Оплаченные ссылки
 - Блок в салоне
 - CAN-шины для Короллы 120, Камри и других
 - Блоки под капотом
 - Блок предохранителей и реле
 - Блок реле 2
 - Предохранители и реле Toyota Ipsum (SXM10), 1996 — 2001
 - предохранитель 120а toyota.каталожный номер diabloarea.ru4
 - Блоки в салоне
 - Блок предохранителей
 - Силовые агрегаты Toyota Gaia
 - Отчёт: О расположении предохранителей на Ipsum SXM10 (Борисыч)
 - Toyota ipsum предохранитель прикуривателя
 - Реле топливного насоса
 - Модераторы: Danich, odyssey, Camel, snow1975
 - Лексус рх 300 / Тойота Харриер 1 — предохранители и реле
 - Блоки в салоне
 - Расположение блоков
 - Toyota Ipsum
 - Toyota Picnic
 - Блок предохранителей
 - Заключение
 
Типичные неисправности двигателей Toyota Gaia и их причины
Двигатель глохнет, машина не едет, обороты падают… Все это – симптомы загрязнения блока дроссельной заслонки и/или впускного коллектора. Кроме того, причиной проблем с холостым ходом могут стать топливный насос и загрязненный воздушный фильтр.
Высокий расход горючего на 3S-FE свидетельствует о необходимости регулировки зажигания, чистки форсунок или КХХ. Вибрации на этом двигателе устраняются заменой подушки, а причина его перегрева обычно кроется в крышке радиатора.

3S-FE – вполне сносный агрегат и при нормальном обслуживании работает приемлемо по срокам. Его моторесурс зачастую переваливает за 300 тыс. км.
Отзывы о выносливости установок серии 3С сильно разнятся, однако данная линейка агрегатов считается более надежной, чем предыдущие 1С и 2С. Бывалые автовладельцы Тойота с 3C-TE отмечают проблемный масляный насос и ненадежный ремень привода ГРМ.
В результате разрыва приводного ремня, на 3C-TE неизбежно загибаются клапана, ломается распредвал и прочее. Ремонт после такого происшествия будет очень дорогостоящим. Ремонтопригодность самих двигателей вполне удовлетворительная.
По силовым агрегатам семейства AZ можно сказать, что основная их проблема – это срыв резьбы в блоке для крепления ГБЦ. Лучше всего это решается заменой блока на обновленный, после 2007-го года выпуска, именно тогда этот просчет в конструкции установок AZ был устранен.
Вибрации на холостых оборотах не редкость и для моторов AZ. Вообще, это такая особенность этих двигателей, бороться с которой практически бесполезно. Если же двигатель 1AZ-FSE дергается очень сильно, то необходимо почистить БДЗ, впускной коллектор, КХХ, заслонку, форсунки, EGR или ДМРВ. Также можно проверить подушки.
Перегрев 1AZ-FSE чреват заменой агрегата на контрактный. Кроме того, версии ДВС FSE (D4) очень чувствительны к качеству бензина, поэтому заправляя этот ДВС в неизвестных местах, можно «попасть» на замену форсунок и топливного насоса, стоимость которых весьма высока. Цепь ГРМ на 1AZ-FSE не тянется, «ходит» больше 200 тыс. км. Ресурс двигателя в 300 тыс. км совсем не редкость.
Под капотом
Под капотом находится более 40 предохранителей и 19 реле. Кроме этого еще 7 реле объединены в 3 самостоятельных блока.
Проблемы в основном монтажном блоке часто возникают при неправильной зарядке аккумулятора.
Пневмоподвеска и кондиционер
Предохранители пневмоподвески в автомобиле прадо 120 4 литра ‒ AIRSUS (39), AIRSUS NO.2 (18). Реле пневматической подвески ‒ AIR SUS находится в блоке № 2.
Другие востребованные предохранители прадо 120:
- кондиционера – задний 4 (RR A/C), 16 (HEATER NO.2);
 - магнитолы ‒ 22, 36 (RADIO NO.1, RADIO NO.2);
 - бензонасоса (топливного насоса) ‒ 29, 32 (A/F HEATER, F/PMP, Efl).
 
Реле стартера (STA) в автомобиле прадо 120 4 литра в основном монтажном блоке (R4) и в блоке реле № 1 (R1).
Поиск по сайту
Отвечает за подачу звукового сигнала. Ближний свет правой фары. Ближний свет левой фары.
Дальний свет правой фары. Дальний свет левой фары. А Система кондиционирования воздуха. А Электрический вентилятор системы охлаждения радиатора. А Обогреватель заднего стекла.
Обогреватель зеркал заднего вида. А Омыватель фар головного света. А Электрический вентилятор радиатора. A Электрический вентилятор радиатора.
Подсветка зеркала солнце защитного козырька. Климат контроль Система кондиционирования.
Обогреватель наружних зеркал заднего вида. Схема электрооборудования Toyota Windom с 1. Смотреть видео как проводить замену плавких предохранителей Camry.
Поиск неисправности в цепи включения муфты компрессора
Понесло, несмотря на имеющуюся систему ABS. Надо сказать, что из практики мы вывели для себя следующее: В это время на панели приборов горит лампочка ABS. Gap между датчиком скорости и зубчатым колесом на ступице больше допустимых пределов. Или само зубчатое колесо на ступице имеет сколы. Этот штифт для проведения самодиагностики системы ABS надо вытащить.
Делать нечего, снимаем колесо, смотрим. Мы смотрим на клиента, он на нас.
Оплаченные ссылки
Схемы вышивки крестом обнаженные. Сейчас этот форум просматривают: Предохранитель розетки в багажнике — Клуб любителей микроавтобусов и минивэнов Расшифровка: Блок предохранителей и реле в салоне р асположение компонентов.
Схема расположения элементов монтажного блока под приборной панелью. Расположение компонентов в моторном отсеке. Система управления двигателем модели с двигателем 2AZ-FE , система электронного управления АКПП и система поддержания скорости модели выпуска с Система предупреждения о не пристегнутом ремне безопасности. Аудиосистема система Multivision модели выпуска до Фары модели с галогеновыми фарами выпуска до Передний кондиционер кондиционер с автоматическим управлением , задний отопитель и дополнительный отопитель.
Антиблокировочная система тормозов модели 2WD. Подушки безопасности и преднатяжители ремней безопасности. Указатели поворота и аварийная сигнализация. Разъем для подключения дополнительного оборудования. Фары, корректор фар и система автоматического управления освещением. Toyota Toyota Ipsum с предохранители реле схема.
Блок в салоне
Он находится со стороны водителя между рулевой колонкой и дверью. Для доступа откройте защитную крышку.
Таблица с описанием
Назначение вариант 2
- Зеркала
 - Лампы стоп-сигналов
 - Электророзетка
 - Кондиционер
 - Контрольные (сигнальные лампы) приборной доски
 - Резерв
 - Обогрев заднего стекла
 - Кислородный датчик
 - Резерв
 - Электропакет
 - Контроллер АКПП
 - Электропакет
 - Лампа салона
 - Электромотор вентилятора салона (обогреватель/ кондиционер)
 - Кондиционер
 - Электромотор вентилятора салона (обогреватель/ кондиционер)
 - Система впрыска топлива
 - Подушки безопасности
 - Резерв
 - Контроллер двигателя
 - Сигнал запуска
 - Прикуриватель
 - Резерв
 - Резерв
 - Очиститель ветрового стекла
 - Резерв
 - Омыватель переднего и/или заднего стекла (на подрулевой переключатель)
 - Омыватель заднего стекла
 - Бензонасос
 - Спидометр, тахометр, указатели температуры и уровня топлива
 - ABS
 
Рядом могут быть расположены несколько отдельных реле.
CAN-шины для Короллы 120, Камри и других
Если вы решились на серьезный апгрейт своей Тойоты Короллы, Авенсис или Камри, включающем подключение целого ряда бортовых устройств, рекомендует подключить все бортовые устройства к CAN-шине. В этом случае в качестве защиты вывод заряда на кузов (массу) является только дублирующим способом защиты сети. Это специализированная система передачи данных с аппаратным решением, позволяющая концептуально решить проблему перегрузки в сети.
Устройство шины практически полностью исключает перегрузки, что позволяет полностью исключить сбои в работе. При подобной архитектуре столкнуться, когда не работает магнитола Тойота Камри, практически невозможно. При включении вас всегда будет радовать спокойно горящий экран вашей обновленной Тойоты Кароллы 120 или Камри предыдущего поколения.
Источник
Блоки под капотом
Блок предохранителей и реле
Расположен в левой части моторного отсека, рядом с аккумулятором.
Обозначение предохранителей
p, blockquote 23,0,0,0,0 —>
| 1 | 60A ABS — АБС | 
| 2 | 140A ALT — Система заряда | 
| 3 | 40A RDI FAN — Вентилятор системы охлаждения | 
| 4 | 40A CDS FAN — Вентилятор системы охлаждения | 
| 5 | 30A RR DEF — Обогрев стекла двери задка и наружных зеркал | 
| 6 | 50A HEATER — Вентилятор отопителя | 
| 7 | 15A H — LP R UPR — Правая фара, дальний свет | 
| 8 | 15A H — LP L UPR — Левая фара, дальний свет | 
| 9 | 25A A / F HTR — Датчик качества рабочей смеси | 
| 10 11 | – | 
| 12 | 15A H — LP R LWR — Правая фара, ближний свет | 
| 13 | 15A H — LP L LWR — Левая фара, ближний свет | 
| 14 | 15A HAZARD — Аварийная сигнализация, указатели поворотов | 
| 15 | 20A AM 2 — Система запуска | 
| 16 | 20A TEL — Телефон | 
| 17 | 20A FL DOOR | 
| 18 | – | 
| 19 | 7,5A ALT — S — Система зарядки | 
| 20 | 10A HORN — Противоугонная система, клаксон | 
| 21 | 20A EFI — Впрыск топлива | 
| 22 | 10A DOME — Внутреннее освещение, указатели и измерители, многофункциональный дисплей | 
| 23 | 7,5A ECU — B — Бортовой компьютер | 
| 24 | 20A RAD №1 — Аудиосистема | 
| 25 26 27 | – | 
| 28 | 50A MAIN — Система запуска | 
Расшифровка реле
p, blockquote 24,0,0,1,0 —>
- A — Отсутствует
 - B — Реле ABS SOL
 - C — Реле вентилятора №3
 - D — Реле вентилятора №1
 - E — Реле э/мотора ABS
 - F — Реле вентилятора №2
 - G — Реле датчика A/F
 - H — Отсутствует
 - I — Реле фар
 - J — Реле стартёра
 - K — Реле обогрева стекла двери задка и наружных зеркал
 - L — Реле магнитной муфты К/В
 - M — Реле клаксона и противоугонной системы
 - N — Реле впрыска топлива
 
p, blockquote 27,0,0,0,0 —>
- A — Реле разрыва цепи
 - B — Главное реле двигателя
 - C — Реле обогрева наружных зеркал
 
Блок реле 2
p, blockquote 30,0,0,0,0 —>
- 1 — 7,5А Предохранитель дневного света фар (DRL)
 - А — Реле № 2 DRL
 - B — Реле № 4 DRL
 - C — Реле № 3 DRL
 
p, blockquote 31,0,0,0,0 —> p, blockquote 32,0,0,0,1 —>
На этом всё. Если есть что добавить — пишите в комментарии.
Источник статьи: http://vsepredohraniteli.ru/toyota/harrier-lexus-300.html
Предохранители и реле Toyota Ipsum (SXM10), 1996 — 2001
предохранитель 120а toyota.каталожный номер diabloarea.ru4
А Электрический вентилятор системы охлаждения радиатора.
Надо сказать, что из практики мы вывели для себя следующее:
Система пассивной безопасности SRS. Схема расположения элементов монтажного блока под приборной панелью. Система управляющая положением дроссельной заслонкой.
Визуальное определение рабочего состояния предохранителей. Расположение блока плавких предохранителей в салоне.
Данный блок плавких предохранителей Camry,располагается внутри салона. Пользуясь ремонтным руководством определяем нахождение данного блока плавких предохранителей,который расположен внутри салона Camry 2.
Система пассивной безопасности SRS. Система управления положением дроссельной заслонкой. Плафон для удобного чтения. Источник контроля электрооборудования кузова. Рассмотрены автомобили Toyota Ipsum с года выпуска. Расположение компонентов в моторном отсеке тойоты ипсум. Схема расположения предохранителей и реле в монтажном блоке под капотом. Система подачи впрыска топлива. Система управляющая положением дроссельной заслонкой. Отвечает за работоспособность внешнего звукового сигнала.
Блоки в салоне
Общая схема расположения блоков в салоне
Блок предохранителей
Он находится в нижней части панели приборов за защитной крышкой со стороны водителя.
p, blockquote 9,0,0,0,0 —>
| 1 | 7,5A IGN — Электронный блок управления двигателем | 
| 2 | 7,5A RADIO №2 — Аудиосистема | 
| 3 | 15A CIG — Прикуриватель, электропривод боковых зеркал | 
| 4 | 20A РRR DOOR — Электропривод стекло подъемника задней левой двери | 
| 5 | 15A PWR OUTLET — Розетка для подключения дополнительного оборудования | 
| 6 | 15A FR FOG — Передние противотуманные фары | 
| 7 | 15A SRS — Система подушек безопасности (SRS) | 
| 8 | 15A ECU-IG — Системы ABS, TRC | 
| 9 | 25A WIPER — Рычаг и щетка стеклоочистителя лобового стекла | 
| 10 | 20A D RR DOOR — Электропривод стекло подъемника задней правой двери | 
| 11 | 20A D FR DOOR — Электропривод стекло подъемника двери водителя, центральный замок | 
| 12 | 20A S/ROOF — Люк | 
| 13 | 15A HEATER — Кондиционер и отопитель, обогреватель стекла задней двери | 
| 14 | 7,5A GAUGE — Комбинация приборов | 
| 15 | 15A RR WIP — Рычаг и щетка стеклоочистителя стекла задней двери | 
| 16 | 20A STOP — Стоп-сигналы | 
| 17 | 7,5A OBD — Электронный блок управления двигателем | 
| 18 | 7,5A STARTER — Стартер | 
| (18)* | 15A SEAT HTR — Подогрев сидений | 
| 19 | 10А WASHER — Омыватель стекол | 
| (19)* | 7,5А STARTER — Стартер | 
| 20 | 7,5А RR FOG — Задние противотуманные фонари | 
| (20)* | 10А WASHER — Омыватель стекол | 
| 21 | 20А FR DEF — Антиобледенитель щеток стеклоочистителя лобового стекла | 
| (21)* | 7,5А RR FOG — Задние противотуманные фонари | 
| 22 | 7,5А SRS-B — Система подушек безопасности (SRS) | 
| (22)* | 20А FR DEF — Антиобледенитель щеток стеклоочистителя лобового стекла | 
| 23 | 10А TAIL — Передние и задние габариты, подсветка номерного знака | 
| 24 | 7,5А PANEL — Подсветка выключателей и переключателей | 
* — Модели с 11/2000 года выпуска.
Отдельно внизу крепятся предохранители: 40А AM1 — Зажигание, 30А POWER — Привод сидений.
С обратной стороны блока находятся элементы реле.
p, blockquote 16,1,0,0,0 —>
- A — Реле габаритных огней
 - B — Реле противотуманных фар
 - C — Реле подачи питания («ACC»)
 - D — Реле антиобледенителя щеток
 - E — Реле задних противотуманных фонарей
 
Силовые агрегаты Toyota Gaia
ВНИМАНИЕ! Найден совершенно простой способ сократить расход топлива! Не верите? Автомеханик с 15-летним стажем тоже не верил, пока не попробовал. А теперь он экономит на бензине 35 000 рублей в год! Читать дальше». Первоначально Gaia оснащалась бензиновым ДВС объемом 2 литра, либо турбодизелем на 2.2 литра, унаследованными от Ipsum, а также передним или полным приводом
После рестайлинга 2001 года, Gaia стала комплектоваться более экономичным, 2-литровым агрегатом, с системой впрыска D4 и только передним приводом
Первоначально Gaia оснащалась бензиновым ДВС объемом 2 литра, либо турбодизелем на 2.2 литра, унаследованными от Ipsum, а также передним или полным приводом. После рестайлинга 2001 года, Gaia стала комплектоваться более экономичным, 2-литровым агрегатом, с системой впрыска D4 и только передним приводом.
- 0 L I4 DOHC 3S-FE (16-клапанный; 135 л.с.)
 - 2 L I4 SOHC 3C-TE (турбодизель; OHC; 94 л.с.)
 - 0 L I4 DOHC 1AZ-FSE (16-клапанный; 152 л.с.)
 

Один из самых массовых силовых агрегатов семейства S от Toyota – 3S, появился в 1984 году и выпускался до 2007 года. Двигатель неоднократно дорабатывался.
Инжекторная модификация и основной ДВС серии 3S – 3S-FE, получил две катушки зажигания и возможность использования 92-го бензина. Привод ГРМ – ременной. На автомобили Toyota мотор устанавливался с 1986 по 2000 годы.
| 3S-FE | |
|---|---|
| Объем, см3 | 1998 | 
| Мощность, л.с. | 120-140 | 
| Расход, л/100 км | 3.8-8.1 | 
| Ø цилиндра, мм | 86 | 
| СС | 22.06.2023 | 
| ХП, мм | 94 | 
| Модели | Caldina; Carina; Corona Premio; Estima (Emina, Lucida); Gaia; Ipsum; Lite Ace Noah; Picnic; Town Ace Noah | 
| Ресурс, тыс. км | 300+ | 
Классические вихрекамерные дизельные установки серии 3C пришли на смену 1С и 2С. БЦ выполнен из чугуна. На каждый цилиндр приходится по паре клапанов. Привод ГРМ – ременной.

Двигатели 3C-TE являются рядными 4-цилиндровыми агрегатами. Впервые они появились в 1993 году и оснащались моновпрыском. Из особенностей этого мотора можно отметить его «всеядность», что позволяет использовать дизтопливо низкого качества.
| 3C-TE турбо | |
|---|---|
| Объем, см3 | 2184 | 
| Мощность, л.с. | 90-105 | 
| Расход, л/100 км | 3.5-11.5 | 
| Ø цилиндра, мм | 86 | 
| СС | 09.08.2010 | 
| ХП, мм | 86 | 
| Модели | Avensis; Caldina; Camry; Carina (E, ED); Celica; Corona (Exiv, Premio, SF); Curren; Gaia; Ipsum; Lite Ace Noah; Nadia; Picnic; RAV4; Town Ace Noah; Vista (Ardeo) | 
| Ресурс, тыс. км | 300+ | 
Отчёт: О расположении предохранителей на Ipsum SXM10 (Борисыч)
Toyota ipsum предохранитель прикуривателя
Вот и договорились на выходные. Я поменял кислородный датчик, прокатился по городу, было ощущение что машина просто гребет из под себя, ну если еще и расход снизится, то вообще кайф будет думал в тот момент. Утром следующего дня собравшись в загородную поездку, запустил двигатель с брелка сигнализации, пока спустился с сумками из квартиры тойота ипсум предохранитель efi дверь почувствовал едкий запах горелой проводки, вот это номер подумал я, неужели что-то замкнуло, и хорошо быстро спустился.
Ладно, садимся в машину, огнетушитель поближе, едем в магазин, тойота ипсум предохранитель efi ведет себя нормально запахов не подает, но думаю ладно, по приезду займусь более тщательным изучением. Пока был в магазине, машина заглохла, при этом по описанию супруги я понял что похоже на то, что кончился бензин, которого в баке было не.
Реле топливного насоса
Модераторы: Danich, odyssey, Camel, snow1975
*************** Лучше молчать и слыть дураком, чем заговорить и сразу развеять все сомнения в этом.
*************** Лучше молчать и слыть дураком, чем заговорить и сразу развеять все сомнения в этом.
*************** Лучше молчать и слыть дураком, чем заговорить и сразу развеять все сомнения в этом.
Слава Украине! Героям Слава!
*************** Лучше молчать и слыть дураком, чем заговорить и сразу развеять все сомнения в этом.
У тебя тоже проблемы с бензонасосом или опять ручки к машинке тянуться что нибудь покрутить.
з.ы. перед вытягиванием каких либо предохранителей, релюх, разьемов. =Незабываем выключать зажигание и отсоединять клему акума. А то потом опять с ошибками бороться придется.
Слава Украине! Героям Слава!
*************** Лучше молчать и слыть дураком, чем заговорить и сразу развеять все сомнения в этом.
Источник статьи: http://club-lexus.ru/forum/viewtopic.php?t=8212&start=0
Лексус рх 300 / Тойота Харриер 1 — предохранители и реле
Праворульный кроссовер Toyota Harrier 1 поколения выпускался в 1997, 1998, 1999, 2000, 2001, 2002 и 2003 году. За это время модель прошла рестайлинг. В некоторых странах мира он известен под названием Lexus RX 300. Отличаются данные автомобили расположением рулевого управления. В Лексус рх 300 он находится с другой стороны. Схемы электрический цепей у них схожие. В данной статье мы покажем расположение электронных блоков управления, описание предохранителей и реле Лексус рх 300 (Тойота Харриер UA10) со схемами блоков и местами где они находятся. Выделим предохранитель прикуривателя.
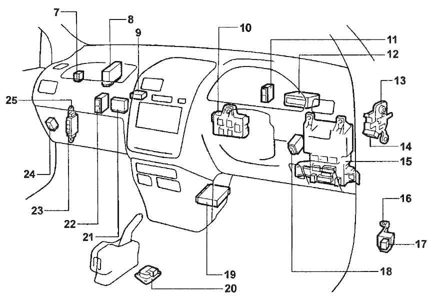
Блоки в салоне
Расположение блоков
Toyota Ipsum

p, blockquote 6,0,0,0,0 —>
- 7 реле топливного насоса
 - 8 блок управления двигателем
 - 9 блок управления камерой заднего вида
 - 10 центральный монтажный блок
 - 11 усилитель магнитолы
 - 12 ТВ-приемник ( с 08.97)
 - 13 блок реле №1,
 - 14 реле заднего отопителя
 - 15 монтажный блок предохранителей в салоне
 - 16 блок реле на перегородке моторного отсека
 - 17 реле питания дополнительного оборудования
 - 18 реле управления центральным замком
 - 19 центральный датчик системы SRS
 - 20 датчик замедления (ABS)
 - 21 усилитель кондиционера
 - 22 блок управления ABS
 - 23 блок предохранителей
 - 24 блок управления системы парковки
 - 25 кронштейн разъема.
 
Toyota Picnic

p, blockquote 9,0,1,0,0 —>
- 6 реле управления замками дверей
 - 7 блок управления иммобилайзером
 - 8 центральный монтажный блок
 - 9 блок управления двигателем (модели с МКПП), блок управления двигателем и АКПП (модели с АКПП)
 - 10 реле системы освещения в дневное время
 - 11 реле топливного насоса
 - 12 блок управления ABS
 - 13 усилитель кондиционера
 - 14 реле разъема подключения дополнительного оборудования
 - 15 монтажный блок разъема подключения дополнительного оборудования
 - 16 усилитель иммобилайзера
 - 17 датчик системы SRS
 - 18 монтажный блок предохранителей в салоне
 - 19 интегрированное реле
 - 20 реле заднего отопителя
 - 21 блок реле в перегородке моторного отсека.
 
Блок предохранителей
Монтажный блок предохранителей находится в нижней части панели приборов за защитной крышкой.

Пример схемы с крышки блока


Обозначение
p, blockquote 16,0,0,0,0 —>
| 1 | 7,5A TURN — Индикаторы указателей поворота | 
| 2 | 7,5A IDLE UP — Электронный блок управления двигателем | 
| 3 | 30A DOOR — Замки дверей | 
| 4 | 7,5A STARTER — Электронный блок управления двигателем | 
| 5 | 10A TAIL — Габариты подсветка номера | 
| 6 | 20A WIPER — Стеклоочистители и стеклоомыватели | 
| 7 | 10A ECU-IG — АБС, система парковки, электронный блок управление системы полного привода | 
| 8 | 15A METER АС — Кондиционер и отопитель | 
| 9 | 15A STOP — Стоп-сигналы, дополнительный стоп-сигнал | 
| 10 | 15A LITER, RADIO — Часы, радио, проигрыватель компакт дисков, предохранитель прикуривателя, система управления зеркалами | 
| 11 | 7,5A IG — Электронный блок управления двигателем | 
| 12 | 30A RR DEF — Обогреватель заднего стекла | 
| 13 | 10A RR HEATER — Задний отопитель | 
| 14 | 15A FR FOG — Передние противотуманные фары | 
| 40А AM1 — Группа питания контактор замков зажигания | |
| 30А POWER — Стеклоподъемники | 
Заключение
В Россию Toyota Gaia официально не поставлялась. Ввоз на территорию РФ происходил только в частном порядке и в основном, уже бывших в употреблении, машин. Наибольшее количество импортированных автомобилей распространено в восточной части страны. По классификации ГИБДД, Тойота Гайа является универсалом.

Первые силовые агрегаты, устанавливаемые на Гайа: дизельный 3C-TE мощностью 94 л.с., и бензиновый 3S-FE мощностью 135 л.с., – одни из самых массовых двигателей компании Тойота. По совокупности характеристик 3S-FE по праву считается одними из лучших ДВС для «легковых» серий японского бренда. Что касается дизельной установки, то такой вариант минивэна может показаться интересным, хотя найти с ним Гайа в хорошем состоянии, довольно сложно. Несмотря на одноразовость блока цилиндров 1AZ-FSE – это хороший мотор. Если следить за его состоянием, то он не подведет.




























