- Оплаченные ссылки
- Блок предохранителей Audi A4 B5
- Схема предохранителей Мазда 6 GG под капотом
- Реле блока под капотом
- Расположение и назначение предохранителей
- Блок под капотом
- Вариант 1
- Вариант 2
- Блок предохранителей
- Установка доп. розетки в skoda fabia II combi
- Блок реле и предохранителей №2 Ауди A4 (B6)
- Правильный подбор изамена предохранителей на Калине
- Как поменять предохранители Мазда 6
Оплаченные ссылки
Проще всего проверить исправность реле, заменив его на заведомо исправное. Так поступают в мастерских. Так как у любителей очень редко бывает в распоряжении исправное запасное реле, рекомендуется следующий шаг с так называемым коммутационным реле, которое кроме прочего используется для включения противотуманных и основных фар.
Включить зажигание и соответствующий выключатель.
Сначала с помощью индикатора напряжения определить, прикладывается ли напряжение к соответствующей плюсовой клемме гнезда реле
Для этого подключить индикатор к массе и другой контакт осторожно вставить в клемму
Блок предохранителей Audi A4 B5
Рассмотрены автомобили Ауди А4 и Ауди А4 авант 1994, 1995, 1996, 1997, 1998, 1999, 2000, 2001 года выпуска.
Расположение предохранителей audi a4 в зависимости от года выпуска может отличаться. Реле находятся на плате центрального распределительного устройства под щитком приборов позади левого кожуха ниши для ног.
- Расположение блока предохранителей в салоне автомобиля.
- С левой стороны сбоку панели.
- 1 — блок предохранителей
- 2 — пинцет для извлечения предохранителей
- 4 — кривошип для аварийного управления люком.
| Назначение предохранителей Ауди а4 | |
| 1 | 5А — Обогрев форсунок стеклоомывателя |
| 2 | 10А — Указатели поворотов |
| 3 | 5А — Реле омывателей фар. Освещение: перчаточног о ящика, моторного отделения, кондиционера, АКПП панели приборов |
| 4 | 5А — Освещение номерного знака |
| 5 | 10А — Панель приборов, подогрев сидений дисплей АКПП. переключатель зеркал, пампа Airbag указатель наружной температуры, навигационная система, стояночные огни |
| 6 | 5А — Центральный замок |
| 7 | 10А — Системе ABS |
| 8 | 5А — Телефон |
| 9 | 10А — Обогрев зеркал и дверных замков |
| 10 | 5А — Корректор фар |
| 11 | 5А — Круиз-контроль |
| 12 | 10А — Встроенная диагностика |
| 13 | 10А — Стоп-сигналы |
| 14 | 10А — Освещение салона, лампы для чтения, противоугонная система, пассажирское зеркало в козырьке |
| 15 | 10А — Панель приборов, АКПП , кондиционер, навигационная система |
| 16 | 5А — Система ABS |
| 17 | 10А — Обогрев дверных замков |
| 18 | 10А — правый дальний свет |
| 19 | 10А — Левый дальний свет |
| 20 | 15А — Правый ближний свет, электрокорректор фар |
| 21 | 15А — Левый ближний свет, электрокорректор фар |
| 22 | 5А — Правые габаритные огни |
| 23 | 5А — Левые габаритные огни |
| 24 | 25А — Стеклоочистители лобового стекла, насос омывателя. Реле прерывателя стеклоочистителя |
| 25 | 30А — вентилятор отопителя, кондиционер |
| 2627 | 30А — Обогрев заднего Стекла, обогрев зеркал, рециркуляция воздуха |
| 28 | 15А — Управление двигателем |
| 30 | 20А — Электропривод люка в крыше |
| 31 | 15А — Фонари заднего хода, круиз-контроль, АКПП, диагностический разъем |
| 32 | 20А — Управление двигателем |
| 33 | 15А — предохранитель прикуривателя audi a4 |
| 34 | 15А — Управление двигателем |
| 35 | 30А — Электророзетка для прицепа |
| 36 | 15А — Телефон, радио |
| 38 | 15А — Освещение багажника, центральный замок |
| 39 | 15А — Аварийное освещение |
| 40 | 25А — Клаксон |
| 41 | 25А — Система ABS (гидромодулвтор/насос]42 |
| 42 | 40А — Вентилятор |
| 43 | 5А — S-контакт [центральный замок, радио, навигационная система) |
| 44 | 30А — Подогрев сидений |
Расположение реле Ауди А4.
У автомобилем с обширным оснащением позади основной платы расположена дополнительная плата реле.
Центральное распределительное устройство — B. Реле обозначены черным цветом.
| 1 | Разгрузочное реле для контакта X |
| 2 | Реле звукового сигнала |
| 3 | Реле системы очистки рассеивателей фар |
| 4 | Реле автоматической коробки передач (блокировка стартера и огни заднего хода] или соответственно перемычка для ступенчатой коробки передач |
| 5 | Реле прерывистого режима работы системы очистки и смывания |
| 6 | Реле топливного насоса или соответственно свечей накаливания |
Основная плата реле -A-.
| 3 | Реле электромагнитной муфты (система кондиционирования] |
| 4 | Блок управления сигнализаторами |
| 5 | Блок управления сигнализаторами |
| 7 | — |
| 8 | Реле фар дневного света |
| 9 | Реле фар света |
| 10 | Реле противотуманных фар |
| 11 | Блок управления для зеркала с функцией откидывания |
| 12 | Блок управления для зеркала с функцией откидывания |
| 13 | — |
| 14 | Предохранитель для специальной сигнальной системы |
| 15 | — |
| 16 | Предохранитель для специальной сигнальной системы |
| 17 | Предохранитель для таксометра |
| 18 | Предохранитель гидравлического насоса системы Предохранитель передатчика |
- Дополнительная плата реле Audi A4.
- Расшифровка.
| 1 | Репе задних противотуманных огней |
| 2 | Реле режима работы вентилятора на максимальной скорости |
| 3 | Реле режима работы вентилятора на первой ступени |
| 4 | Реле блока управления стеклоподъемником |
| 5-15 | — |
| 16 | Предохранитель механизма перестановки сиденья |
| 17 | — |
| 18 | Предохранитель гидравлического насоса системы (ABS) |
| 19 | Предохранитель вентилятора радиатора |
| 20 | — |
| 21 | Реле обмотки переключения вентилятора радиатора |
| 22 | Реле задних стеклоподъемников |
| 23 | Реле передних стеклоподъемников |
| 24 | Реле системы центрального запирания и противоугонной системы |
Плата реле блока электроники в моторном отсеке.
| 1 | Реле системы обогрева кислородного датчикаРеле I свечей накаливания — охлаждающей жидкости |
| 2 | Реле II свечей накаливания — охлаждающей жидкости |
| 3 | Реле системы прямого впрыскивания дизельного двигателя |
| 4-5 | — |
| 6 | Предохранитель электрооборудования двигателя |
| 7 | Предохранитель I свечей накаливания — охлаждающей жидкости |
| 8 | Предохранитель II свечей накаливания — охлаждающей жидкости |
| 9 | Предохранитель свечей накаливания |
Схема предохранителей Мазда 6 GG под капотом
Первоначально уточним, где находится блок с защитными элементами электрической сети Mazda 6 GG в моторном отсеке.
Плавкие вставки в моторном отсеке Mazda 6 первого поколения отвечают за надежное и безопасное функционирование следующих устройств:
- 1, 2, 3, 21, 35 – не используются (запасные);
- 4 – система подогрева внешних зеркал (7.5А);
- 5, 22 – розетка (5, 40А);
- 6 – ЭБУ силового агрегата (15А);
- 7 – ДМРВ, ЭБУ силового агрегата;
- 8 – датчик кислорода (15А);
- 9, 10 – предохранитель ближнего света Mazda 6 1 поколения для правой и левой блок-фары (15А);
- 11, 12 – дальний свет передней оптики слева и справа;
- 13 – контроллер положения акселератора (7.5А);
- 14 – световое оповещение аварийной остановки;
- 15 – стоповые огни (15А);
- 16, 17 – управляющая программа ДВС и автоматической трансмиссии (7.5А);
- 18 – предохранитель бензонасоса Мазда 6 GG (20А);
- 19, 37 – дополнительные электрические цепи (40, 15А);
- 20 – электрические подъемники стекол (30А);
- 23 – управляющий блочок отопительного комплекса, огни заднего хода (30А);
- 24 – вентилятор отопительного радиатора (40А);
- 25 – центральный замок Mazda 6 GG, подсветка салонного пространства (40А);
- 26 – отопительная система (20А);
- 27 – система подогрева стекла сзади (40А);
- 28 – дополнительные электрические цепи, ABS (60А);
- 29, 30 – вспомогательные электроцепи, вентилятор системы кондиционирования (30А);
- 31 – подсветка приборной панели, габариты;
- 32 – подсветка салонного пространства;
- 33 – муфта электромагнитного типа;
- 34 – мультимедийный комплекс (15А);
- 36 – цепь открытия лючка топливного бака (7.5А);
- 38 – очистительный механизм оптики (20А);
- 39 – противотуманки (15А);
- 40 – основная плавкая вставка.
Для обеспечения защиты электрооборудования по цепям блочка в подкапотном пространстве японского автомобиля наиболее часто используются плавкие вставки с номинальным током в десять ампер. К ним относятся элементы с порядковыми номерами 7, 11, 12, 14, 16, 31, 32, 33, 40.
Реле блока под капотом
Силовой блочок Мазда 6 джи джи моторного отсека оснащен следующими реле:
- 1 – основная плавкая вставка Mazda 6 GG;
- 6, 8, 10, 18 – охлаждающий вентилятор радиатора №2, 3, 4, 1;
- 7 – звуковой сигнал;
- 9 – реле стартера;
- 11 – низкочастотный динамик;
- 12 – подогревательный комплекс стекла сзади;
- 13 – ПТФ;
- 14 – управляющая программа кондиционирования;
- 15 – основное реле;
- 16 – оптика;
- 17 – габаритные огни;
- 19 – омывающий комплекс оптики;
- 20 – ПТФ.
Расположение и назначение предохранителей
Основной блок расположен слева под рулевой колонкой и защищает большинство потребителей. Доступ к нему получить достаточно просто: необходимо снять защитную крышку, открутив два болта по бокам.
Если вынуть монтажный блок полностью из гнезда, то на обратной стороне содержится информация в виде пиктограмм назначений каждого предохранителя:

В зависимости от поколения автомобиля, года выпуска и комплектации, назначения предохранителей могут незначительно отличаться, а для установки дополнительного оборудования предусмотрены резервные гнёзда для монтажа.

| № предохранителя | Номинальная сила тока | Защищаемая цепь |
|---|---|---|
| 1 | — | Резерв |
| 2 | — | Резерв |
| 3 | 5A | Автоматический регулятор коррекции фар |
|
4 |
5A | Блок-контроллер АВS |
| 5 | 5A | Цепь опции круиз-контроля |
| 6 | — | Резерв |
| 7 | 15A | Электронная система управления двигателем |
| 8 | 10A | Датчики топливных форсунок |
| 9 | 5A | Блок-контроллер климатической системы, парктроник |
| 10 | — | Резерв |
| 11 | 7,5A | Блок-контроллер стеклоподъёмников, электрический привод боковых зеркал |
| 12 | 7,5A | Огни заднего хода |
| 13 | 15A | Система АКПП |
| 14 | 10A | Регулятор света фар |
| 15 | 5A | Головное устройство, навигатор, бортовой компьютер |
| 16 | 5A | Электрический привод руля |
| 17 | 5A | Подсветка номерного знака, левый габарит |
| 18 | 5A | Правый габарит |
| 19 | 5A | Аудиосистема, магнитола |
| 20 | 5A | ЭБУ |
| 21 | 5A | Огни стоп-сигналов |
| 22 | 10A | Блок-контроллер электрооборудования в салоне |
| 23 | 7,5A | Подсветка салона |
| 24 | 10A | Центральный замок |
| 25 | 20A | Подогрев передних сидений |
| 26 | 15A | Привод омывателя лобового стекла |
| 27 | — | Резерв |
| 28 | 10A | Кислородный датчик |
| 29 | 10A | Датчик топлива |
| 30 | 15A | Топливный насос |
| 31 | 10A | Датчик ГРМ |
| 32 | — | Резерв |
| 33 | — | Резерв |
| 34 | 30A | Электронная блокировка двигателя |
| 35 | 5A | Элементы подсветки приборной панели |
| 36 | 15A | Дальний свет |
| 37 | 7,5A | Противотуманный задние огни |
| 38 | 10A | Противотуманные передние огни |
| 39 | 30A | Привод вентилятора кондиционера |
| 40 | 30A | Привод заднего дворника |
| 41 | — | Резерв |
| 42 | 25A | Нагревательная нить заднего стекла |
| 43 | 20A | Клаксон |
| 44 | 20A | Привод дворников лобового стекла |
| 45 | 15A | Блок-контроллер ЭБУ |
| 46 | — | Резерв |
| 47 | 15A | Розетка прикуривателя |
| 48 | 15A | Гидротрансформатор АКП |
| 49 | 15A | Поворотники |
| 50 | 10A | Навигатор |
| 51 | 25A | Привод стеклоподъёмников на левых дверях |
| 52 | 25A | Привод стеклоподъёмников на правых дверях |
| 53 | 25A | Электрический привод люка |
| 54 | 15A | Охранная сигнализация, транспондер, иммобилайзер |
| 55 | — | Резерв |
| 56 | 25A | Привод омывателя передних фар |
| 57 | 15A | Блок-контроллер левой фары |
| 58 | 15A | Блок-контроллер правой фары |
Блок реле расположен с левой стороны торца приборной панели:


- R1 – резерв
- R2 – обогреватели лобового или заднего стекол (в зависимости от комплектации)
- R3 – стартер
- R4 – давление в топливных магистралях
- R5 – электрооборудование осветительных приборов
- R6 – резерв
- R7 – передние габаритные огни
- R8 – топливный бензонасос
- R9 – климатическая система, кондиционер
- R10 – реле зажигания
- R11-R15 – резервные модули
Блок под капотом
Монтажный блок с предохранителями и плавкими вставками находится в крышке на аккумуляторной батарее.
p, blockquote 21,0,0,0,0 —>

p, blockquote 22,0,0,1,0 —>
Вариант 1
Схема
p, blockquote 23,0,0,0,0 —>

p, blockquote 24,0,0,0,0 —>
Назначение
p, blockquote 25,0,0,0,0 —>
- 175А Генератор
- Не занято
- 80А Внутренне пространство
- 60А Дополнительный электрический обогрев
- 40А Внутренне пространство
- 50А Вентилятор системы охлаждения, свечи накаливания
- 50А Электрическое рулевое управление
- 25А ABS, ESP, ASR
- 30A Вентилятор системы охлаждения
- 5A Вентилятор системы охлаждения
- 40A ABS, ESP, ASR
- 5A Центральный блок управления
- 5А Автоматическая коробка передач, 40А Дополнительный обогрев
Вариант 2
Схема
p, blockquote 26,0,0,0,0 —>

p, blockquote 27,0,0,0,0 —>
Описание
p, blockquote 28,0,0,0,0 —>
| 1 | 175А Генератор |
| 2 | 80А Блок управления электрооборудованием |
| 3 | 60А Дополнительный отопитель |
| 4 | 40А Гидро — электронный блок ABS |
| 5 | 50А Блок управления усилителя рулевого управления |
| 6 | 50А Свечи накаливания |
| 7 | 5А Автоматическая коробка передач |
| 8 | 40А Блок управления электрооборудованием |
| 9 | 30А Вентилятор системы охлаждения |
| 10 | 5А Кондиционер |
| 11 | 30А Вентилятор системы охлаждения |
| 12 | 25А Гидро — электронный блок ABS |
Блок предохранителей
Находится в торце приборной панели, со стороны водителя за защитной крышкой. СхемаОписание
| 10А Обогрев зеркал, реле прикуривателя, электроуправляемые сиденья и жиклеры стеклоомывателей | |
| 10А Указатели поворота, фары с ксеноновыми лампами | |
| 5А Освещение вещевого ящика | |
| 5А Освещение номерного знака | |
| 7,5А Обогрев сидений, Climatronic, заслонка для циркулирующего воздуха, обогрев наружных зеркал, регулятор Tempomat | |
| б | 5А Система замков с центральным управлением |
| 10А Фары заднего хода, сенсоры паркования | |
| 5А Телефон | |
| 5А ABS, ESP | |
| 10А Зажигание | |
| 5А Панель приборов | |
| 7,5А Электропитание системы диагностирования | |
| 10А Фонари сигнала торможения | |
| 10А Внутреннее освещение кузова, система замков с центральным управлением, внутреннее освещение кузова (без системы замков с центральным управлением) | |
| 5А Панель приборов, датчик угла поворота рулевого колеса, зеркало заднего вида | |
| 10А Кондиционер | |
| 5А Обогрев жиклеров опрыскивателей, 30А Фонарь дневного света | |
| 10А Правая фара дальнего света | |
| 10А Левая фара дальнего света | |
| 15А Правая фара ближнего света, регулирование высоты фар | |
| 15А Левая фара ближнего света | |
| 5А Правый стояночный огонь | |
| 5А Левый стояночный огонь | |
| 20А Передние стеклоочистители, электродвигатель стеклоомывателя | |
| 25А Вентилятор отопителя, кондиционер, Climatronic | |
| 25А Обогрев стекла крышки багажника | |
| 15А Стеклоочиститель заднего стекла | |
| 15А Топливный насос | |
| 15А Блок управления: бензиновый двигатель, 10А Блок управления: дизельный двигатель | |
| 20А Электроуправляемый солнечный люк в крыше | |
| Незанято | |
| 10А Бензиновый двигатель — клапанные форсунки, 30А Дизельный двигатель топливный насос высокого давления, блок управления | |
| 20А Фарообмыватель передних фар | |
| 10А Бензиновый двигатель: блок управления, 10А Дизельный двигатель: блок управления | |
| 30А Розетка для подключения прицепа, розетка в багажнике | |
| 15А Противотуманные фары | |
| 20А Бензиновый двигатель: блок управления, 5А Дизельный двигатель: блок управления | |
| 15А Лампа освещения багажника, центральный замок, внутреннее освещение салона | |
| 15А Система аварийной световой сигнализации | |
| 20А Звуковой сигнал (гудок) | |
| 15А Прикуриватель | |
| 15А Радиоприемник, телефон | |
| 10А Бензиновый двигатель: блок управления, Дизельный двигатель: блок управления | |
| 15А Обогрев сидений |
Установка доп. розетки в skoda fabia II combi
«Дополнительная розетка никогда не помешает» — подумал я когда покупал свою Фабию. Очень уж неудобно расположен прикуриватель. Находится он между водительским и пассажирским сидениями. Если установить в машину видеорегистратор, навигатор, антирадар и прочую лабуду, то получается, что куча проводов тянется через пол-салона. Гарантия кончилась — пора начинать модифицировать свой авто… У китайцев была куплена розетка следующей модификации — ST0411 Vehicle DIY Cigarette Lighter Socket (12V)
Задача №1 — определить место установки. Вариантов было много. Выбрал самое оптимальное
Дырку под розетку просверлил впритык. По резьбе закрутил ее. Не понадобилось даже закручивать гайку с обратной стороны.
Задача №2 — протянуть провода.
Отодвигаем сиденья как можно дальше назад. Принимаем позу ЗЮ и начинаем тянуть один провод (+) к блоку предохранителей. Минус тянуть никуда не надо. Подсоединяем его с помощью болта к железяке расположенной рядом (красная стрелка).
Протягиваем плюс за педалями. Смотрим чтоб провод не касался движущихся частей. В дальнейшем уложил его в гофру.
Снимаем воздуховод, открутив винт показанный красной стрелкой. Откручиваем 2 винта крепления блока предохранителей и вынимаем его из места постоянной дислокации.
Тянем провод параллельно связке проводов идущих к блоку предохранителей.
Покупаем контакт N90732603. Зажимаем в него кабель. Изолируем его термоусадкой и вставляем в блок предохранителей (место 41. см. красный провод) предварительно вынув пластиковую заглушку с торца. Собираем все в обратном порядке и ставим предохранитель на 10 Ампер
Теперь у меня есть розетка без постоянного питания (отключаемая).
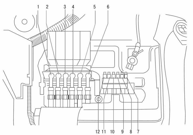
Блок реле и предохранителей №2 Ауди A4 (B6)
Блок предохранителей и реле №2 Ауди А4 B6
Блок реле и предохранителей №2 Audi A4 B6 располагается в салоне автомобиля в подрулевом пространстве с левой стороны по ходу движения. Для доступа к Блоку реле №2 необходимо демонтировать обшивку подрулевого пространства.
| № | Назначение реле и предохранителей |
|---|---|
| 1 | Реле топливного насоса |
| 2 | Реле управляющего устройства для управляемого гидропривода |
| 3 | Реле двутонального звукового сигнала |
| 4 | Реле усилителя тормозного привода |
| 5 | Свободный разъем |
| 6 | Разгрузочное реле Х-контакта |
| 7 | Свободный разъем |
| 8 | Свободный разъем |
| 9 | Свободный разъем |
| A | Свободный разъем |
| B | Предохранитель с тепловым реле |
Правильный подбор изамена предохранителей на Калине
Предохранитель в машине представляет собой пластиковое изделие с двумя контактами, внутри которого находится плавкая вставка.
Разные предохранители рассчитаны на разное значение тока и при превышении этого параметра вставка перегорает
Очень важно на место нужного предохранителя установить такой же и не ошибиться.
К примеру, если на прикуриватель установлен предохранитель на 15 Ампер, то поставить вставку на 60 Ампер или на 5 уже нельзя.
Дело в том, что при большом токе срабатывания, прибор может сгореть или оплавить проводку в случае неисправности. А при большом токе в 15 Ампер, предохранитель на 5 Ампер может сработать сразу после включения прибора, так как не рассчитан на такую работу.
Плавкие вставки отличаются по цвету и амперажу. В настоящий момент, в автомобилях используют следующие цвета и предохранители:
| Цвет | Наглядно | Ток срабатывания | |
| Коричнево-желтый | 5А | ||
| Коричневый | 7,5А | ||
| Красный | 10А | ||
| Голубой | 15А | ||
| Желтый | 20А | ||
| Белый | 25А | ||
| Зеленый | 30А | ||
| Оранжевый | 40А | ||
| Красный | 50А | ||
| Голубой | 60А |
В автомобилях Лада Калина 1 и 2 поколения используются ножевые предохранители стандартов Norma и Maxi. Последние применяются на Калине 2 в подкапотном пространстве и несколько таких используется на Lada Kalina 1 в салоне.
Чтобы заменить предохранители, в основном блоке есть специальный съемник, который находится в правом нижнем углу.
Как поменять предохранители Мазда 6
Нужно освободить фиксатор крышки блока предохранителей и снять крышку. С обратной стороны можно обнаружить запасные предохранители, щипцы для замены, и схему расположения предохранителей. Схемы также можно найти в руководстве по ремонту.
Щипцами следует ухватить нужный предохранитель и вытащить его из гнезда. Для проверки можно посмотреть на извлеченную деталь против света. Если нить внутри повреждена — предохранитель сгорел.
Впрочем, даже визуально целый предохранитель стоит заменить, раз уж потребитель, который он защищал, отказывается работать. Стоят предохранители довольно дешево.
Новый предохранитель должен же быть того же номинала (5A, 10A, 15A, 20A, и т.д.), что и сгоревший. Чтобы в этом было легче ориентироваться, предохранители окрашены в разные цвета.
Если проблема с потребителем (фары, эл.стеклоподъемники, освещение салона и другие) не устранилась, возможно имеется короткое замыкание или неисправен сам потребитель электричества.





























